

День ото дня бытовая техника становится все более сложной. Но некоторые устройства, даже несмотря на громкие названия и новомодный футуристический дизайн, в душе остаются простенькими и вполне доступными для самостоятельного изготовления.
Таковыми, например, являются ионизаторы. Очень многие покупатели убедились на своем опыте в их полезности. А между тем тратиться на покупку прибора вовсе не обязательно: можно соорудить ионизатор воздуха для квартиры своими руками.
Разновидности
Сегодня с целью искусственной ионизации воздуха (аэроионфикации) применяют несколько методов:
Ультрафиолетовый
[ads-pc-2]Примером ультрафиолетового ионизатора является кварцевая лампа, с помощью которой обеззараживают больничные палаты.
Характерной чертой данного метода независимо от источника ультрафиолетового света является образование значительного количества озона и окислов азота (об этом можно догадаться по особому запаху), поэтому присутствовать в помещении во время работы прибора и в течение получаса после его выключения не рекомендуется.
За 30 мин указанные вещества по причине своей нестабильной природы распадаются и воздух снова становится безопасным для человека.[ads-mob-1]
Гидродинамический
Приборы, в основу которых был положен данный метод, производят не легкие отрицательный аэроионы, а водяную пыль (аэрозоль) с электростатическим зарядом.
Со временем было доказано, что бытовые гидроионизаторы, распыляющие дистиллированную воду, совершенно бесполезны, вследствие чего их производство прекратилось.
Но метод успешно применяется в медицине для создания электроаэрозолей на основе различных целебных жидкостей, а также в некоторых отраслях, где требуется мелкодисперсное распыление веществ.
Метод коронного разряда


Ионизатор состоит из электрической схемы, преобразующей стандартное переменное напряжение в высоковольтное (несколько десятков киловольт) и конструкции с заостренными электродами, на которые это напряжение подается.
В результате наблюдается коронный разряд, сопровождаемый электростатической эмиссией, то есть «стеканием» электронов с острия с последующим захватом их молекулами кислорода.
В самом простом исполнении эффлювиальные ионизаторы являются нерегулируемыми – режим их работы, как и производительность по ионам, изменить нельзя.
Более сложные модификации – регулируемые – учитывают напряжение электрического поля вокруг себя и в зависимости от него корректируют напряжение на электродах.
Помимо описанных разновидностей применяют термоэлектронные, радиоизотопные и фотоэлектрические ионизаторы. Они используются в различных приборах. Например, радиоизотопный ионизатор является частью датчика противопожарной сигнализации.
Бытовые ионизаторы на коронном разряде делятся на униполярные (генерируют только отрицательные ионы) и биполярные (продуцируют ионы обоих знаков).


Принцип коронного разряда
Поскольку положительные ионы в квартирах и так активно образуются при работе бытовой электроники, в большинстве случаев целесообразно применять униполярные ионизаторы.
В тех же помещениях, где техника отсутствует, например, в детской, следует применять биполярное устройство, так как при дисбалансе между положительными и отрицательными ионами целебный эффект от воздействия последних почти не проявляется.


Инструкцию по изготовлению осушителя воздуха своими руками вы найдете тут.
А в этой теме https://microklimat.pro/sistemy-ventilyacii/ionizator-vozduxa-vred-ili-polza.html расскажем, стоит ли приобретать ионизатор воздуха и может ли данный прибор оказать вред организму человека.
Что потребуется для сборки?
Перечень необходимых изделий и материалов будет зависеть от вида самодельного ионизатора. Начнем с самой простой конструкции. Для изготовления такого прибора нам понадобится:

- пара пластмассовых коробочек из двух половинок, которые находятся внутри каждого «Киндер-Сюрприза»;
- пара проводов диаметром 0,5 мм;
- разборная штепсельная вилка;
- изолента;
- ножницы;
- игла.
Попробовав свои силы в изготовлении элементарного ионизатора, можно будет перейти к более сложной версии, предназначенной для применения в автомобиле. Для создания такого прибора понадобятся следующие компоненты:
- трансформатор;
- генератор преобразователя.
Тип генератора значения не имеет, вполне подойдет даже одноконтактный.
Если среди старого хлама в гараже или в кладовке у вас найдется распространенный когда-то интегральный таймер марки «555», генератор можно извлечь из него. Он имеет примитивное устройство, но для самодельного ионизатора вполне сгодится.
Сборка ионизатора воздуха своими руками
Рассмотрим, как сделать ионизатор воздуха своими руками. Если все подготовлено, можно приступать к изготовлению прибора. Вот как осуществляется сборка самого простого ионизатора:


- В стенке каждой пластмассовой коробочки от «Киндера» с помощью иглы нужно проделать отверстие. Оно должно быть достаточно крупным, поэтому иглу нужно не просто воткнуть в пластик, но и хорошенько провернуть ее несколько раз из стороны в сторону.
- Приготовленный провод необходимо распустить на отдельные жилы.
- Жилы нужно завести в проделанные в коробочках отверстия, причем через одну коробочку должна пройти жила с положительной полярностью, а через другую – с отрицательной.
- Теперь жилы нужно обмотать изолентой.
- Тщательно изолированные жилы нужно соединить.
- С другой стороны жилы нужно подсоединить к контактам в штепсельной вилке.
Для надежности самодельный ионизатор нужно снабдить корпусом (обычная коробка из достаточно жесткого материала) и установить в недоступном для детей и домашних животных месте.
Остается включить прибор, воткнув вилку в розетку.
Переходим к более сложному заданию – изготовлению ионизатора для автомобиля. Порядок действий следующий:
- Сначала нужно соорудить трансформатор. За основу берем трансформатор из любого блока питания, например, от компьютера. Чтобы извлечь преобразователь, понадобится паяльник. Для упрощения процедуры демонтажа можно воспользоваться следующим приемом: феррит нужно прогреть с помощью зажигалки, затем иголкой разделить обе половины. Действовать нужно предельно аккуратно, чтобы они не повредились. Сердечник нужно освободить от проводов, после чего на него наматывают новые обмотки: первичная должна содержать 14 витков, вторичная – 600. Изоляционную прослойку между обмотками можно изготовить из обычного прозрачного скотча, уложенного в 2 – 3 слоя. Такой же изолирующий слой следует укладывать через каждые 100 витков вторичной обмотки.
- К самодельному трансформатору необходимо подсоединить таймер.
- Используя диоды КЦ106 и несколько конденсаторов с параметрами до 10 кВт и 3300 пФ, нужно собрать умножитель напряжения. Затем к нему нужно подключить сборку из трансформатора и таймера.
- Выходные электроды умножителя напряжения нужно установить на расстоянии 2,5 – 3 см друг от друга, после чего прибор можно включать в сеть.
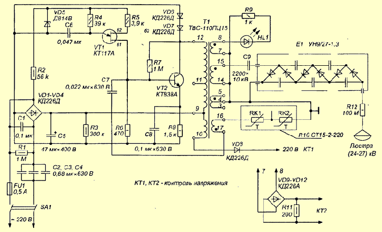
Теперь рассмотрим способ изготовления еще более сложного варианта ионизатора – электроэффлювиальной люстры, также известной под названием люстры Чижевского.
Схема ионизатора воздуха


Дело в том, что зачастую производители изготавливают данный прибор неверно, вследствие чего напряжение на электроде оказывается недостаточным. Оно должно составлять не менее 25 тыс. В, иначе ионизатор будет бесполезным.
Правда, перенапряжения также следует избегать, иначе в больших количествах начнут образовываться токсичные озон и окись азота. О высокой концентрации этих веществ можно догадаться по характерному запаху, который кое-кто из малоосведомленных пользователей по ошибке принимает за «аромат свежести».
Работа правильного ионизатора не должна сопровождаться никакими запахами.
Предлагаемая здесь схема обеспечивает оптимальный потенциал. Для ее изготовления понадобятся такие радиодетали:
- Резисторы: С5-35В, на 1 кОм (обозначим его как R1); МЛТ-2 на 20 кОм (R2); С5-35В на 10 Мом (R3).
- Диоды Д226 (2 шт. — D1 и D2).
- Выпрямительный столб из 4-х диодов Д1008.
- Тиристор КУ201К (обозначим как VS1).
- Конденсаторы: МБМ на 1 мкФ, 400 В (С1); ПОВ 390 пФ, 10 кВ (4 шт. – с С2 по С5).
- Мотоциклетная катушка зажигания Б2Б на 6В (Т1).
Схема работает следующим образом:
- Каждый раз, когда диод D1 открывается (он остается открытым в течение одного полупериода переменного тока), происходит заряд конденсатора С1 через первичную обмотку Т1.
- В противофазе (при обратном направлении тока) происходит разряд конденсатора С1 при закрытых диодах D1, D2 и открывшемся тиристоре VS1. В результате на первичную обмотку катушки Т1 поступает пульсирующий ток.
- Вторичная обмотка катушки Т1 повышает поступающее на первичную обмотку напряжение, после чего оно поступает на блок, состоящий из 4-диодного выпрямительного столба и умножителя. Умножитель собирается из конденсаторов С2 – С5.
- На выходе из умножителя получается высоковольтное напряжение (выпрямленное), которое через резистор R3 подается на ионизатор. В задачу данного резистора входит ограничение тока.
Вместо резисторов указанных марок можно воспользоваться только резисторами МЛТ-2: чтобы получить элемент R1, 3 – 4 таких резистора нужно соединить параллельно; для создания элемента R3 резисторы МЛТ-2 соединяют последовательно в количестве 4 – 5 шт.
Тип резистора R2 существенного значения не имеет, важно только, чтобы мощность рассеяния у него была не менее 2 Вт.


Электрическая схема ионизатора воздуха
В качестве D1 и D2 вместо указанной марки можно применить любые другие диоды, рассчитанные на ток в 300 мА и обратное напряжение 400 В, например, КД109В, КД109Г или Д205.
Для сборки выпрямительного столба вместо диодов типа Д1008 можно применить аналогичные элементы 7ГЕ350АФ, 2Ц203Б (или В), 2Ц202КГ (а также Д или Е), КЦ105Г, КЦ201Г (а также Д и Е).
В качестве С1 помимо указанной марки может применяться любой неполярный конденсатор, рассчитанный на напряжение не менее 250 В.
Умножитель можно собрать на любых конденсаторах высоковольтного типа напряжением не ниже 15 кВ.
Элемент VS1 может быть представлен тиристорами КУ202К (а также Л, М и Н), КУ201Л, 1Н4202, NCM700C.
Помимо мотоциклетной катушки зажигания (элемент Т1) может быть применена любая другая. Также подойдет повышающий трансформатор, снятый с отслужившего свое телевизора, например, ТВС110АМ, ТВС110ЛА, ТВС110Л6. При отсутствии готового изделия трансформатор можно изготовить самостоятельно.
Выводы элементов в той части схемы, где имеется высокое напряжение, должны располагаться на достаточном расстоянии друг от друга. Иначе между ними произойдет электрический разряд. Для лучшей изоляции выводы после пайки следует залить разогретым парафином.
Настройка схемы


Величину выходного напряжения, подаваемого на люстру, можно корректировать путем изменения нминалов резистора R1 и конденсатора С1.
Если же схема была собрана на указанных элементах, настройка не требуется – достаточно включить прибор в сеть.
Изготавливаем сам ионизатор
Основу люстры Чижевского проще всего изготовить из металлического обруча для занятия гимнастикой. За неимением такового можно сделать кольцо примерно того же диаметра из медной проволоки (без изоляции) диаметром 4 – 5 мм.
На кольце необходимо закрепить несколько отрезков проволоки диаметром 0,7 — 1 мм, так чтобы они образовали прямой угол и при этом провисали, как бы очерчивая собой часть шара.
К каждому перекрестью, образованному проволокой, необходимо припаять стальную булавку длиной от 3 до 4 см, один конец которой изогнут в форме колечка. Такие булавки продают в магазинах канцелярских принадлежностей. Они и будут теми самыми иглами, с которых стекает захватываемый молекулами кислорода заряд.


Озонатор воздуха на двух транзисторах
Подвешивается люстра на 3-х сходящихся отрезках проволоки диаметром около 1 мм, которые образуют ребра 3-гранной пирамиды с равносторонним основанием. Сами подвесы в вершине «пирамиды» прикрепляются к маленькому колечку, подвешенному на потолке посредством токонепроводящей нити, например, рыболовной лески.
К этому колечку и подсоединяется кабель от электросхемы, по которому подается высоковольтное напряжение. Для подключения можно использовать антенный кабель диаметром 8 – 10 мм, с которого следует предварительно снять экранирующую обмотку и изоляцию.[ads-mob-2]
Техника безопасности
[ads-pc-3]Минимально допустимое расстояние между человеком и работающим ионизатором (речь идет о последнем варианте – люстре Чижевского) составляет 1,5 м.
Учтите, что даже после отключения от сети конденсаторы какое-то время будут сохранять заряд, поэтому сразу прикасаться к прибору нельзя.
Нельзя проверять работоспособность ионизатора, пытаясь ощутить близко поднесенной ладонью прохладу от ионного ветра.
Из-за наличия высокого напряжения короткая дистанция между рукой и прибором легко может быть пробита коронным разрядом. Лучше поднести к люстре небольшой комочек ваты (на расстояние около 60 см), который – если все в порядке – будет к ней притягиваться.


Все о выборе осушителя воздуха для квартиры вы найдете по этой ссылке. Критерии выбора и обзор популярных моделей.